My background smart grids. Work on the future of electricity and have to desigh new ways in whcih people will be witness to each other yet keep their own privacy
Martijn Warnier Test
-
Article
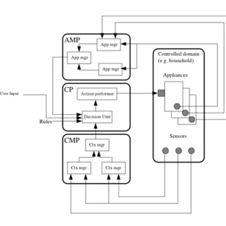
Autnomic Home Management system
This is a design for an system that automatically adapts its energy consumption. For example, whenโฆ