Autnomic Home Management system

iwest
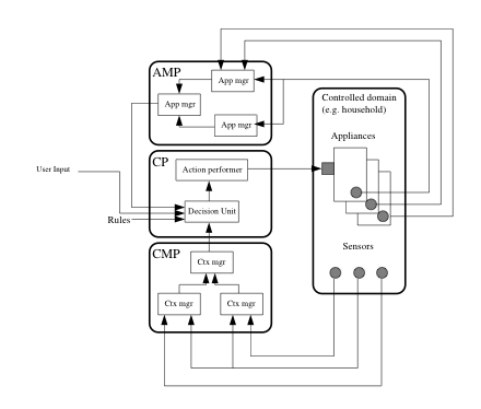
The design for the autonomic home energy management system

This is a design for an system that automatically adapts its energy consumption. For example, when the owners of a house are present, the lights will be on and the tempearature will be high. In contrast, when they leave the lights will go off and the temperature will be lowered. Ideally the system adapts to its owners.